通过凡尔码平台给每个设备或每个巡检点生成对应的二维码,微信扫码即可查看基本信息、填写日常检查记录,记录自动汇总后台,登录后台即可查看和导出数据,管理人员绑定凡尔码小程序即可随时了解巡检完成情况和工作人员任务执行情况。
点击链接登录后台使用: https://manage.58faner.com/
1、开通后台:搜索“凡尔码”注册开通系统,选择对应行业案例,登录后台即可(我们以设备管理行业为例进行讲解);
2、修改后台案例: 找到对应目录、对应设备案例模板;
2.1可删除以前的案例,或者在案例上修改基本信息即可(最好是删除,批量导入最快),那我们就删除重新导入;

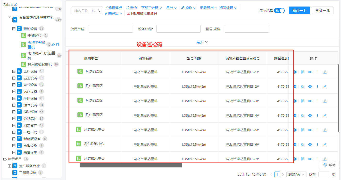
2.2点击【新建一批】下载Excel模板,导入设备台账;
2.3按表单录入设备基本信息,表格里面不能有合并单元格,每一行系统会生成一个设备二维码;

3.批量导入:录好设备台账之后,点击【新建一批】上传EXCEL文档即可批量生成设备二维码;
3.1选择数据的标题行,点击【下一步】点击保存即可

3.2这时候我们二维码已经生成好了,下面我们需要对二维码里面的内容进行修改;

4、关联巡检表单:这时候我们需要关联设备巡检表,点击编辑模板进去,找到导航组件点击进去,找到里面的表单点编辑链接进去关联我们自己的设备巡检表,多余的表单点击删除;

4.1搜索对应巡检表单进行关联就可以了(表单需要我们提前去表单管理里面设置或修改,后台有具体操作教程);
5、二维码标签设计导出:点击【标签设计】找到对应设备模板,在【系统模板】找个适合的二维码标签模板,点击【添加到我的模板】即可;
5.1进入【我的模板】即可修改标签内容即可;
5.2 在【我的模板】进行修改单位名称、上传单位logo,修改字段名称、字段数据源,即可批量导出二维码标签;
以上是设备建码教程,用户看不懂或不会操作可联系凡尔码平台客服教使用哦!平台提供免费的设备标签打印,具体可联系客服人员。