凡尔码二维码巡检系统是一种低代码平台;用户可通过平台开发好的组件像搭积木一般灵活搭建巡检管理平台和无纸化记录应用场景。
凡尔码平台功能组件:二维码管理、表单管理、流程管理、计划管理、权限管理、隐患管理、区域管理、记录管理、任务管理、数据报表、备件管理等模块组成。
如何开通系统:搜索“凡尔码”即可开通使用。
【二维码管理】支持灵活批量导入各类型巡检点生成二维码标签、设置点位二维码展示信息、记录显示信息、填写信息;

【表单管理】凡尔码40多种字段组合丰富的电子表单,用户自由拖拽组合各类检查表单;表单关联二维码点位,实现微信扫码登记记录。
【流程管理】用户可按需求搭建管理流程,审批流程、缺陷处理流程、报修流程等,通过系统形成缺陷处理工单、审批工单、维修工单、指派人员及时处理。
【计划管理】用户可灵活创建巡检计划每日、每周、每月巡检,计划生成巡检任务,通过凡尔码微信公众号推送任务通知,小程序端任务办理。
【权限管理】此模块巡检信息查看及编辑权限、巡检表单填写权限、记录查看权限、下载权限设置。
【区域管理】此模块实现网格化区域管理,每个区域设置区域负责人、对应区域出现问题通过系统自动通知区域负责人处理。
【记录管理】此模块可查看记录及打印、导出动态管理记录,凡尔码后台支持配置个性化的打印模板,可按模板导出记录。
【任务管理】此模块实现巡检任务的查看,比如安全巡检任务统报修任务列表等,通过此列表可查看、办理任务。
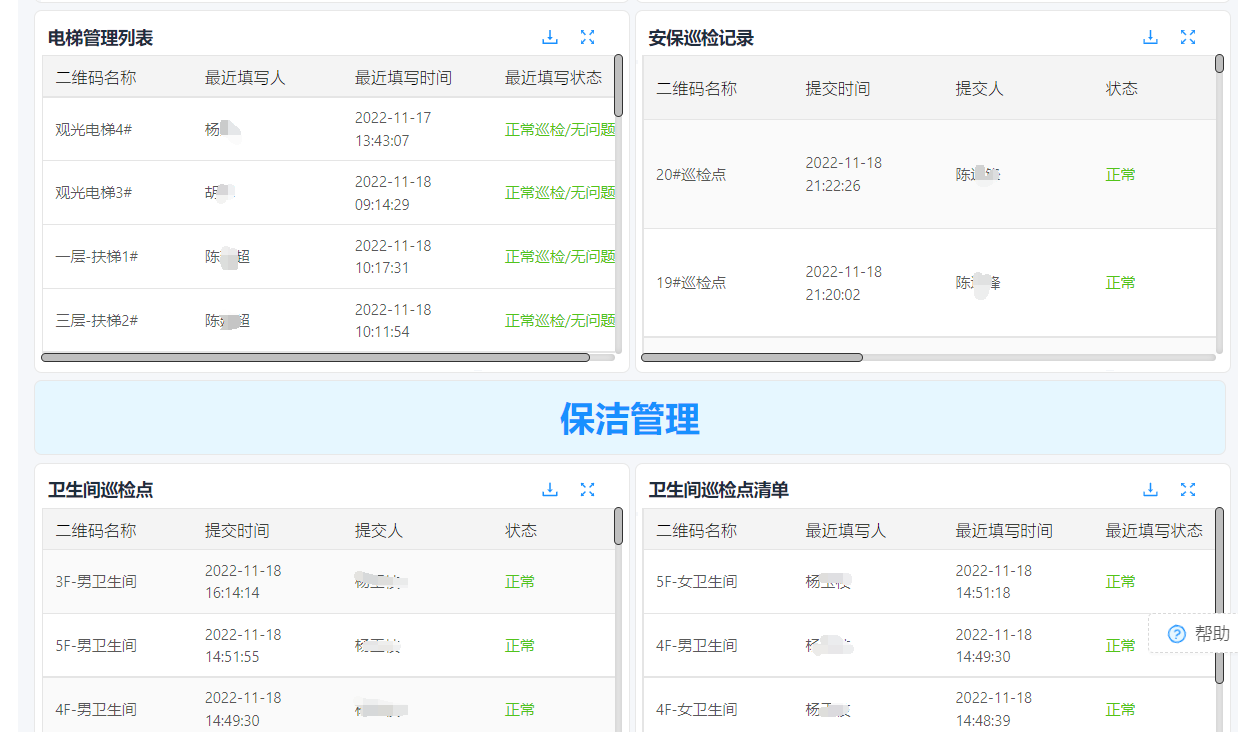
【数据报表】通过凡尔码后台仪表设置可配置个性化的统计报表,可对设备的巡检数据、巡检状态、异常情况自由组合成统计报表。使用人员通过此模块随时了解单位安全巡检管理情况。