通过凡尔码平台给每个设备生成对应的二维码,取代传统纸质巡检卡,微信扫码即可查看设备基本信息、填写设备日常检查记录,记录自动汇总后台,随时登录后台查看和导出数据,管理人员绑定凡尔码小程序即可随时了解设备巡检完成情况和工作人员任务执行情况。

点击链接登录后台使用: https://manage.58faner.com/
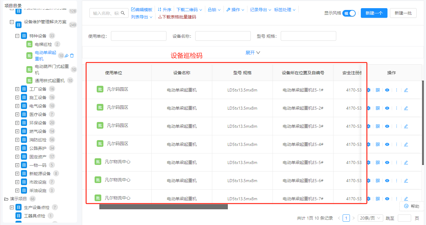
生成设备巡检码流程图:

1、开通后台,搜索“凡尔码”注册开通系统,选择对应行业案例,登录后台即可;
2、修改后台案例: 找到对应目录、对应设备案例模板;

2.1 可删除以前的案例,或者在案例上修改基本信息即可(最好是删除,批量导入最快);
2.2 点击【新建一批】下载Excel模板,导入设备台账;
2.3 按表单录入设备基本信息,表格里面不能有合并单元格,每一行系统会生成一个设备二维码;
3.批量导入:录好设备台账之后,点击【新建一批】上传EXCEL文档即可批量生成设备二维码;

选择数据起始行:
点击【下一步】点击保存即可;
4、二维码标签设计:点击【标签设计】找到对应设备模板,在【系统模板】找个适合的二维码标签模板,点击【添加到我的模板】即可。
4.2 进入【我的模板】即可修改标签内容即可;
4.3 在【我的模板】进行修改单位名称、上传单位logo,修改字段名称、字段数据源,即可批量导出二维码标签;
以上是设备建码教程,用户看不懂或不会操作可联系凡尔码平台客服教使用哦!平台提供免费的设备标签打印,具体可联系客服人员。