凡尔码搭建物业设备巡检系统可以让您通过二维码+小程序的手段轻松实现了无纸化、智能化的巡检工作,不仅操作简捷、查看方便、记录高效、信息可靠,还可以有效规范管理落实到部门,然后落实到每一个岗位和每一个工作事项,辅以制度、流程、记录表格进行控制,同时保持记录表格便于跟踪和工作考核,使其有章可循,工作有序进行。
点击可免费注册登录 https://manage.58faner.com/
凡尔码搭建物业设备巡检系统的优势
(1)操作简单,微信扫码即可巡检,不仅节省了下载APP的时间和流量消耗,还省去了用户注册、登录等繁琐操作。
(2)提供安全保障,凡尔码搭建系统,数据加密,独立服务器存储,确保您的信息和数据安全无虞。
(3)系统还支持照片、文字、定位等多种方式记录巡检情况,防止假检、漏检。
(4)产品价格低廉,适合各种规模的物业管理公司,让您不仅可以拥有高质量的巡检服务,还可以在费用上得到实际的节省。
(5)我们的售后服务也非常优秀,无论是系统使用或是故障处理,我们都会提供及时、周到、专业的技术支持。
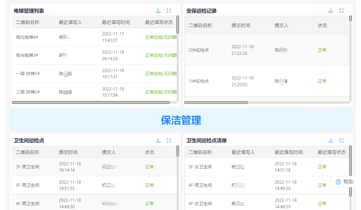
管理人员可通过后台检查与监管执行情况
物业管理人员,您是建筑中的一道风景线,任重道远。但是,使用凡尔码物业巡检系统,您可以轻松化解各种难题,让管理工作更加便捷高效,让您的负担轻松减轻,后台还可汇总数据便于查询统计、导出、分析,通过后台就可了解实时管理情况。

