安全行业管理应用
凡尔码平台无代码搭建安全行业数字化管理平台,自定义表单+自定义流程搭建更多场景,应用场景分为:隐患排查治理、安全隐患随手拍、安全生产检查、日常安全巡检、安保巡逻等;
数据中心数据源配置:检查记录、整改记录、复检记录、流程任务、办理状态组合形成仪表盘数据;管理人员轻松了解安全管理情况。
1、按业务流程灵活搭建安全管理流程:
(1)安全生产检查(由上至下):管理人员检查发现隐患---> 隐患整改任务---> 隐患整改复查:
检查任务:系统后台配置检查计划,按计划产生检查任务小程序点击办理;现场检查发现隐患现场拍照及隐患视频,填写隐患描述;通过系统设置整改人、整改期限、形成整改任务通知整改。
整改任务:整改人微信收到整改任务办理通知,点击“历史环节”了解隐患信息、进入实际整改;整改任务填写整改记录、整改后照片等,系统现场验收复查任务进行复查。
验收任务:验收人微信收到验收任务办理通知,点击查看“历史环节记录”即可了解整改执行过程,可线上验收也可到现场确认验收,验收“合格”流程闭环;验收“不合格”重新进行整改,直到整改验收合格为止。
(2)安全隐患随手拍:充分发挥安全生产人人有责、人人都是安全员理念,在各个安全区域制作隐患随手拍二维码粘贴现场,人员发现隐患随手记录,上报管理人员进行审核,隐患属实定人定时定措施进行整改;通过系统形成整改任务通知整改,整改完毕进入隐患验收,验收合格流程闭环;验收不合格,重新进入整改。
2、流程任务统计:PC后台和小程序流程任务统计,方便业务人员、管理人员了解各个流程环节任务办理情况;管理更高效。

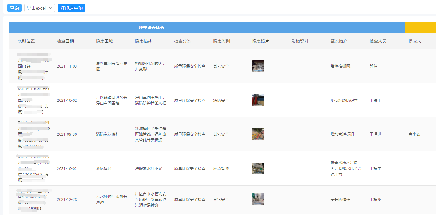
3、流程记录:隐患记录汇总后台,方便查询、导出、痕迹留存不费力。
后台支持配置个性化打印模板,现场检查、整改、复查过程记录打印存档,无需花费时间做检查资料。
通过搭建安全管理平台管理,可有效的记录安全管理的业务细节,所有工作环节规范化,整改责任到人,防止互相推诿,从而提高工作效率的目的;单位管理人员也可以通过小程序实时了解管理安全隐患状况,做好事前控制,防患未然。